Product Summary
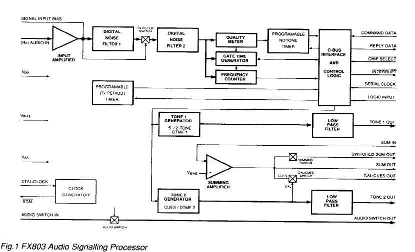
As part of the DBS 800 System, the FX803J is a kind of audio signalling processor which will provide an inband tone signalling facility for PMR radio systems. Signalling systems supported include Selcall (CCIR, ZVEI I, II and III, EEA), 2-Tone Selcall and Dual Tone Multi-Frequency (DTMF) encode. Using a non-predictive tone decoder and versatile encoders gives the FX803J the capability to work in any standard or non-standard tone system. The FX803J is a full-duplex device consisting of: Two individual tone generators and a programmable (Tx) period timer, A tone decoder with programmable NOTONE Timer and An on-chtp summing amplifier. The FX803J is a low-power, 5-volt CMOS integrated circuit and is available in 24-pin OIL cerdip and 24-pin/lead plastic SMD packages.
Parametrics
FX803J absolute maximum ratings: (1)Supply voltage: -0.3 to 7.0V; (2)Input voltage at any pin (ref VSb = 0V): -0.3 to (V0D +0.3V); (3)SinK/source current (supply pins) (other pins): +/- 30mA; (4)Total device dissipation: 800mW Max; (5)@ TAMB Derating: 10mW/℃; (6)Operating temperature range: -40℃ to +85℃ (cerdip); (7)Storage temperature range: -55℃ to+125℃ (cerdip).
Features
FX803J features: (1)Both tone generators can be individually placed into a power economical "Powersave,,mode; (2)A general purpose logic input, interfacing directly with the Status Register, is provided. This could be used as an auxiliary method of routeing digital information to the Controller via the "C-BUS; (3)The output frequencies are produced from data loaded to the device, with a programmable, general purpose, on-chip timer available to indicate the tone transmit periods; (4)A Dual Tone Multi-Frequency (DTMF) output is obtained by combining the 2 independent output frequencies in the integral summing amplifier. This Summing Amplifier output is also available for level adjustment; (5)Tones produced by the FX803 can also be used in the DBS 800 system as modulation calibration inputs and for "CUE" audio indications for the operator; (6)Received tones are measured and their frequency indicated to the jiController in the form of a received data word. A poor-quality or incoherent tone will, after a programmed period, indicate NOTONE.
Diagrams

![]() |
![]() FX803 |
![]() Other |
![]() |
![]() Data Sheet |
![]() Negotiable |
|
||||
![]() |
![]() FX805 |
![]() Other |
![]() |
![]() Data Sheet |
![]() Negotiable |
|
||||
![]() |
![]() FX806A |
![]() Other |
![]() |
![]() Data Sheet |
![]() Negotiable |
|
||||
![]() |
![]() FX809 |
![]() Other |
![]() |
![]() Data Sheet |
![]() Negotiable |
|
||||
![]() |
![]() FX802 |
![]() Other |
![]() |
![]() Data Sheet |
![]() Negotiable |
|
||||
(Hong Kong)








